

固壁拉结件(墩头冲孔拉结件)为新型的装配式构件之一,用于墙柱间拉结。
广东省内所有地区均为抗震设防地区,国家标准《抗震设计规范》及《砌体结构设计规范》均规定墙柱间拉结件伸入自承重墙体的长度:6、7度时不应少于1000mm,宜全墙拉通;8度时应全墙拉通。
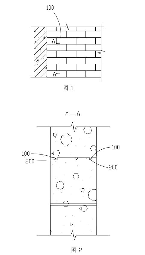
传统砌筑时采用Ф6圆钢拉结筋的做法无法适应薄浆干砌砌筑灰缝3~5mm厚的要求,需现场人工开槽从而造成工效降低、浪费材料和粉尘污染。
利用专用墩头冲孔钢板拉结件:固壁拉结件等强度等面积替代Φ6圆钢拉结筋,达到砌块免开槽效果,为薄浆干砌的应用扫清了施工障碍。
本技术已通过由广东省建筑业协会组织的科学技术成果鉴定,达到国内领先水平,并已作为优先选用技术纳入到广东省标准《薄浆干砌及薄层抹灰自保温墙体技术规程》DBJ/T15-179-2020中。
现有钢筋混凝土结构中的填充墙一般采用砌块(砖)墙体进行填充,墙体中砌块(砖)间的灰缝厚度一般为8~12mm,为满足建筑抗震性能的要求,填充墙要求与相邻的混凝土墙(柱)进行有效拉结。
【附图说明】
图1是现有技术一的示意图;
图2是沿图1中A-A线的剖视图;
图3是现有技术二的示意图之一;
图4是现有技术二的示意图之二;
图5是本实用新型的示意图;
图6是沿图5中B-B线的剖视图;
图7是沿图5中C-C线的剖视图;
图8是带孔镀锌钢板在机械冷压加工成型前的示意图;
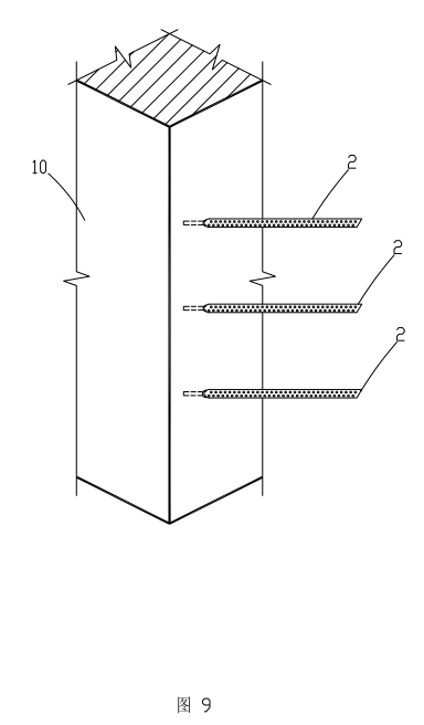
图9本实用新型安装在结构柱上时的示意图;
图10实用新型安装在墙柱并砌墙时的示意图。




